一、一件事名稱
我要申請?zhí)胤N設備檢驗檢測機構核準
二、受理情形
自然人
三、是否收費
不收費
四、辦理事項
特種設備檢驗、檢測機構核準
五、承諾時限
10個工作日
六、申請條件
1.年齡在 18周歲以上,60周歲以下;
2.身體健康并滿足申請從事的作業(yè)種類對身體的特殊要求;
3.有與申請作業(yè)種類相適應的文化程度;
4.具有相應的安全技術知識與技能;。
七、所需材料

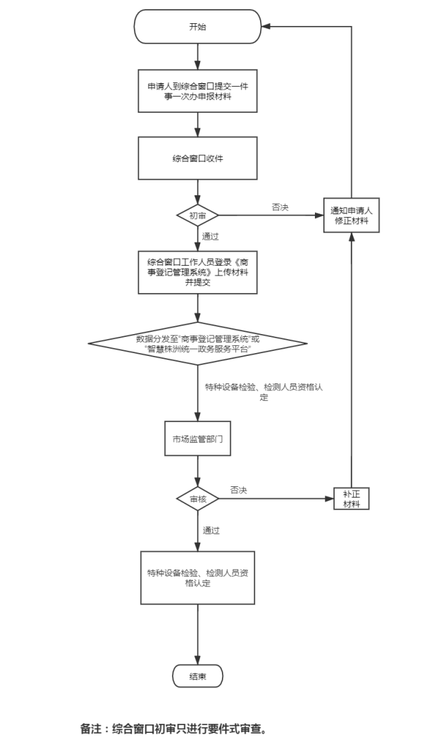
八、辦理流程

九、受理地址及電話


一、一件事名稱
我要申請?zhí)胤N設備檢驗檢測機構核準
二、受理情形
自然人
三、是否收費
不收費
四、辦理事項
特種設備檢驗、檢測機構核準
五、承諾時限
10個工作日
六、申請條件
1.年齡在 18周歲以上,60周歲以下;
2.身體健康并滿足申請從事的作業(yè)種類對身體的特殊要求;
3.有與申請作業(yè)種類相適應的文化程度;
4.具有相應的安全技術知識與技能;。
七、所需材料

八、辦理流程

九、受理地址及電話

